13時までのご注文は当日発送(元日除く)/ 3,980円以上ご購入で送料無料

FINAL CLEARANCE SALE

Jalana公式スマホアプリ案内ページ

サイズについて

商品の各所実寸は、平置きにした状態(※衣類のシワを手で伸ばした状態)で以下の通り測っています。
サイズ選びの際は、お持ちのアイテムを実際に測っていただき、各商品ページ記載の実寸と比べてみて下さい。
サイズのお問い合わせにも出来る限りお答えいたしておりますが、人により体型の違い、着方の好みなど様々ですので、実寸値の比較が最も確実です。


*新品の状態で測っていますので、洗濯により縮む商品もあります。

*個体差のある商品は、各部を複数の別個体で計測し、その平均値をサイズ表に、振れ幅を誤差として表記しております。

トップス

■各寸法の測り方

各部の画像、動画をクリックすると実際の測り方をご覧頂けます。

-肩幅 [画像動画]
セットインスリーブの肩の縫い目上部の左右直線寸法(ラグランスリーブの場合は計測いたしません)
-着丈 [画像動画]
背面のネック中心から裾までの直線寸法(首リブや襟がある場合は、その下端から計測)
-身幅 [画像動画]
脇下間の左右直線寸法
-袖丈 [画像動画]
セットインスリーブの肩の縫い目上部から腕の外側に沿って袖先までの寸法
-裄丈 [画像動画]
背面ネック中心から水平に肩口まで、そこから腕の外側に沿って袖先までの寸法
-アームホール [画像動画]
肩先から脇下までを直線で測り2倍した寸法
-二の腕回り [画像動画]
袖の外側から脇下まで垂直に直線で測り2倍した寸法
-ウエスト [画像動画]
ジャケットの合わせを開き、片側最下点から内側に沿って反対側までの寸法(裾の内周の寸法)

*背面ネック中心はリブ又は襟の付け根です
*裾はリブを含みます
*袖先はリブ又はカフスを含みます
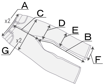
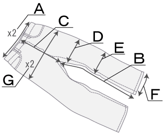
*袖の形状は下図の通りです。

シャツの首回り

■各寸法の測り方

各部の画像、動画をクリックすると実際の測り方をご覧頂けます。

首回り [画像動画]
広げた襟元の内側に沿って、第一ボタンの留め糸からボタンホールの先までの寸法

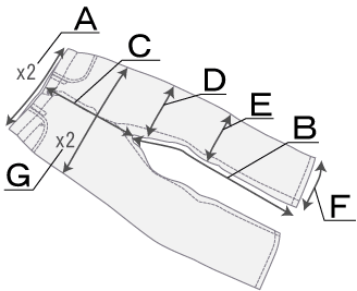
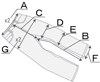
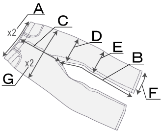
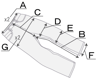
ボトムス

■各寸法の測り方

各部の画像、動画をクリックすると実際の測り方をご覧頂けます。

-ウエスト [画像動画]
前後を合わせたパンツ上端の横幅を2倍した寸法
※ヨレや浮きによる誤差をできるだけ防ぐため、シワをよく伸ばした直線にて計測しております。
-レングス [画像動画]
股の下からインシームに沿った裾までの寸法
-股上 [画像動画]
股の下からパンツ上部までの寸法
-わたり [画像動画]
股の下からインシームに沿って10cm下部分の腿幅の寸法
-膝幅 [画像動画]
ブーツカットのようなシェイプされたパンツで、膝の最も細い部分の幅の寸法
-裾幅 [画像動画]
裾幅の寸法
-ヒップ [画像動画]
平置きにしたパンツのフライの付け根の横幅を2倍した寸法

*インシームとは内股に添った縫い目です。

オーバーオール

■各寸法の測り方

各部の画像、動画をクリックすると実際の測り方をご覧頂けます。

-ウエスト [画像動画]
フロントウエストパネル両端のボタン外側間の長さを2倍した寸法(ボタンは留めた状態で計測)
-ヒップ [画像動画]
フロントフライの付け根部分の横幅を2倍した寸法
-股上 [画像動画]
股の下からフロントパネル上端までの寸法
-レングス [画像動画]
股の下からインシームに沿った裾までの寸法
-わたり [画像動画]
股の下からインシームに沿って10cm下部分の腿幅の寸法
-裾幅 [画像動画]
裾幅の寸法

*インシームとは内股に添った縫い目です。

ベルト

■各寸法の測り方

-ウエスト適応最小寸法
平置き状態で、バックルのピンの根本から、一番手前の穴までの寸法
-ウエスト適応最大寸法
平置き状態で、バックルのピンの根本から、一番先の穴までの寸法

※ページでの表記は、実寸「A-B」となっております。

グローブ・手袋

■各寸法の測り方

A-全長
指の最も長い部分(通常中指の先)から手首の淵までの寸法
B-手首幅
手首入り口部分の幅の寸法
C-中指の長さ
中指の付け根から先までの寸法

シューズ・ブーツ

 

■各寸法の測り方

-ソール全長
ソールの最大全長の寸法
-ソール幅
ソールの最大幅の寸法
-ヒールの高さ
ヒールの底からコバ上面までの高さの寸法

サイズ表記の目安

男性用

※ブランドやデザイン、生産国、生産時期によって同じサイズ表示でも異なる場合がございます。目安としてご覧下さい。

ジャケット

日本 XS S M L XL
アメリカ
(ユース)
XXS
(YM)
XS
(YL)
S
(YXL)
M L
30 32 34 36 38 40 42 44 46 48
イギリス 30 32 34 36 38 40 42 44 46 48
ヨーロッパ 40 42 44 46 48 50 52 54 56 58
0 1 2 3 4

シャツ

日本 XS S M L
35 36 37 38 39 40 41 42
アメリカ 13 1/2 14 14 1/2 15 15 1/2 16 16 1/2 17
イギリス 13 1/2 14 14 1/2 15 15 1/2 16 16 1/2 17
ヨーロッパ 35 36 37 38 39 40 41 42

パンツ

日本 XS S M L XL
アメリカ XXS XS S M L
27 28 29 30 31 32 33 34 36 37
イギリス 30 32 34 36 38 40 42 44 46 48
ヨーロッパ - 36 - 38 40 42 - 44 46 -
0 1 2 3 4

帽子

サイズ XS S M L XL
6 1/2 6 5/8 6 3/4 6 7/8 7 7 1/8 7 1/4 7 3/8 7 1/2 7 5/8
頭囲(cm) 52 53 54 55 56 57 57.5 58 59.5 60.5

日本 24.5 25 25.5 26 26.5 27 27.5 28 28.5
アメリカ 6 1/2 7 7 1/2 8 8 1/2 9 9 1/2 10 10 1/2
イギリス 6 6 1/2 7 7 1/2 8 8 1/2 9 9 1/2 10
ヨーロッパ 39 40 41 42 43 44 45 46 47
男性用 ワイズ(mm)
サイズ(cm/inch) C D E EE EEE EEEE
24.5cm/6.5inch 228 234 240 246 252 258
25cm/7inch 231 237 243 249 255 261
25.5cm/7.5inch 234 240 246 252 258 264
26cm/8inch 237 243 249 255 261 267
26.5cm/8.5inch 240 246 252 258 264 270
27cm/9inch 243 249 255 261 267 273
27.5cm/9.5inch 246 252 258 264 270 276
28cm/10inch 249 255 261 267 273 279
28.5cm/10.5inch 252 258 264 270 276 281

※サイズ(足長):指先の端とかかとの先端との長さ。
ワイズ(足囲):指根元と小指根元の、最もふくらんでいる部分。

女性用

ジャケット、シャツ

日本 S M L XL
5号 7号 9号 11号 13号 15号 17号 19号
アメリカ XS S M L
2 4 6 8 10 12 14 16
イギリス 6 8 10 12 14 16 18 20
XS S M L XL
30 32 34 36 38 40 42 44
フランス 34 36 38 40 42 44 46 48
イタリア 36 38 40 42 44 46 48 50

日本 22 22.5 23 23.5 24 24.5 25 25.5 26
アメリカ 5 5 1/2 6 6 1/2 7 7 1/2 8 8 1/2 9
イギリス 3 1/2 4 4 1/2 5 5 1/2 6 6 1/2 7 7 1/2
ヨーロッパ 34 35 36 37 38 39 40 41 42
女性用 ワイズ(mm)
サイズ(cm/inch) C D E EE EEE EEEE
22cm/5inch 210 216 222 228 234 240
22.5cm/5.5inch 213 219 225 231 237 243
23cm/6inch 216 222 228 234 240 246
23.5cm/6.5inch 219 225 231 237 243 249
24cm/7inch 222 228 234 240 246 252
24.5cm/7.5inch 225 231 237 243 249 255
25cm/8inch 228 234 240 246 252 258
25.5cm/8.5inch 231 237 243 249 255 261
26cm/9inch 234 240 246 252 258 264